质检作业
使用场景:用户在数据开发前先要保证数据质量,可数据集成后通过数据质检作业检查已入仓的数据质量。
使用角色:数据开发人员。
功能描述:平台提供质检作业构建能力,通过将内置质检规则和自定义质检规则与质检对象绑定以实现质量问题的发现。内置规则指通用性高,大多数据表都能使用的规则,包括空值、格式、范围、枚举值、符合关键字等;自定义规则提供了一套扩展机制,通过正则表达式来满足内置规则之外的业务需求。
分组配置
进入数据质检 > 质检作业界面,点击左侧目录栏中“新建”按钮,根据页面内容填写信息后“保存”即可。
- 支持同级分组拖拽移动排序;
- 可直接在新建分组时关联作业,一个作业只能同时关联一个分组,新建分组页面展示所有未关联分组的作业;
- 若作业未关联分组,则无法通过分组树过滤出对应作业,需在列表中自行搜索所需的未分组作业。
配置质检作业
新建
- 进入数据质检 > 质检作业界面,点击质检作业界面上方的“新建质检作业”按钮,在新建界面按要求填写相关配置后“保存”即可。

基本信息
- 名称:必填,用户根据实际业务场景手动输入作业名称,支持中英文,空间内不允许重复;
- 所属分组:非必填,下拉配置作业所属分组;
- 描述:非必填,填写该作业的描述信息。
质检资产
- 质检资产:必填,单选,下拉可选择数仓内各层级的数据表、及最新版本的主数据表(带“主”标签的即是),支持名称模糊检索;选择后会自动展示该表基本信息。
- 质检数据抽样:必填,默认为100%,即全量质检;选择其他数据比例后,质检时按比例对质检列的数据进行随机抽样参与质检。
- 若开启业务权限管控,质检资产会自动过滤掉当前操作用户无权限数据表;且作业保存时会校验作业运行人是否拥有作业内所有数据表的对应业务权限,校验通过方可保存成功;
- 质检目标数据表不可选择其他空间授权的跨空间数据表;
- 质检数据抽样为随机抽样,由于每次抽样数据可能不同,因此质检结果可能存在差异;
- 随机抽样是基于数据行的,每次返回的数量相差不多,但也不保证每次查询出来的数据行数一样,0.1并不是严格按总条数*0.1,而是按伯努力离散分布。
- 质检规则
点击“新建规则”按钮,出现新增质检规则弹窗后,根据实际业务需求填写界面信息并配置规则后 “保存” 即可。- 平台提供内置规则和自定义规则两种规则类型,内置规则作用于字段,提供大多数数据都能使用的规则,包括空值、格式、范围、枚举值、符合关键字等;
- 自定义规则作用于表,需用户选择计算逻辑后手动输入自定义逻辑条件,例如 age > 0 and age < 120,也支持系统参数,如 age > #{value}。
- 质检规则填写项说明
- 名称:定义质量规则的名称,同一作业内不允许重复;
- 类型:包括内置规则和自定义规则;
- 作用对象:内置规则校验对象为字段,可多选质检表的字段;自定义规则校验对象为表,无需配置,默认为质检表;
- 计算逻辑:下拉单选具体的计算逻辑,内置规则包含多个可直接使用的内置计算逻辑,无需再自主编写SQL或正则;自定义规则包含两种计算内置计算逻辑,但需在“过滤条件”自主编写自定义逻辑条件,用以筛选出符合逻辑的数据,后续系统会根据过滤结果再统计出质检结果;
- 分区表达式:使用分区字段构建 SQL 条件表达式对数据进行筛选,如 create_time > '2023-05-01';同时支持引用作业参数,如 create_time > #{planTime};
- 过滤条件:选择“自定义规则”时可自定义逻辑条件,例如age >0 and age < 120。注意
- 支持使用sql语法,支持1=1,不支持1==1,但是1==1可以保存,运行时会运行失败。不支持&&、||、!;支持&、|、and、AND、or、OR、NOT、not。
- 比较方式:小于等于、小于、大于等于、大于、等于;
- 期望值:填写符合规则模板比较方式对应的记录条数,若不符合期望,则该规则结果在是否通过处显示“不通过”。计算逻辑/内置规则类型是【固定值】时,期望值是 [0, 2147483647] 自然数;计算逻辑/内置规则类型是【比值】时,期望值是 [0, 100] 范围的小数。
- 正则验证说明
- 当选择计算逻辑为 “符合格式条数,固定值”、“符合格式条数/总条数” 两种时,质检规则弹窗界面出现正则验证功能按钮,点击后,弹出正则验证器,包含内置的正则库,可直接选择使用或手动输入正则表达式。然后在正则验证框中输入要验证的文本进行验证,待验证通过后,用户可修改已有正则名称或输入正则名称对正则库进行更新,最后将所需正则移至质量规则计算逻辑配置页供数据质检时使用。

- 当选择计算逻辑为 “符合格式条数,固定值”、“符合格式条数/总条数” 两种时,质检规则弹窗界面出现正则验证功能按钮,点击后,弹出正则验证器,包含内置的正则库,可直接选择使用或手动输入正则表达式。然后在正则验证框中输入要验证的文本进行验证,待验证通过后,用户可修改已有正则名称或输入正则名称对正则库进行更新,最后将所需正则移至质量规则计算逻辑配置页供数据质检时使用。
内置计算逻辑说明
规则名称 | 规则说明 | 规则核心检测逻辑 |
|---|---|---|
| 非空条数,固定值 | 字段值为非空的数据即为命中; 不支持字段类型:text、json、xml、bytea、geometry | SUM(CASE WHEN {column}::text,'') is null THEN 0 ELSE 1 END) AS hitCount |
| 符合格式条数,固定值 | 满足“校验格式”中所填写正则表达式格式要求的数据即为命中; 不支持字段类型:text、json、xml、bytea、geometry | SUM(CASE |
| 符合范围条数,固定值 | 字段值在所配置“开始值(含)、结束值(含)”区间内的数据即为命中; 适用数值型字段类型,如int4、int8、float4、float8、decimal | SUM(CASE |
| 符合枚举值条数,固定值 | 字段值在所配置“值选项”枚举集合内的数据即为命中; 不支持字段类型:text、json、xml、bytea、geometry | SUM(CASE |
| 包含关键字条数,固定值 | 字段值包含所配置“关键字”的数据即为命中; 不支持字段类型:text、json、xml、bytea、geometry | SUM(CASE |
| 唯一值条数,固定值 | 字段值唯一的数据即为命中; 不支持字段类型:text、json、xml、bytea、geometry | count(distinct (${column})) as hitCount |
| 符合身份证校验条数,固定值 | 满足中国身份证号码、护照、驾照的基本格式的数据即为命中,格式包含6位数字前缀、符合yyyyMMdd格式的8位数字、三个数字和一个数字或字母X/x的4位后缀; 适用字符型字段类型,如char、varchar | ((1[1-5])|(2[1-3])|(3[1-7])|(4[1-6])|(5[0-4])|(6[1-5])|[7-9]1)\d{4}(19|20|21)\d{2}((0[1-9])|(1[0-2]))(([0-2][1-9])|10|20|30|31)\d{3}[0-9Xx] |
| 符合邮箱校验条数,固定值 | 满足邮箱基本格式的数据即为命中,格式包含“@”“.顶级域名”即可; 适用字符型字段类型,如char、varchar | [A-Za-z0-9]+([-._][A-Za-z0-9]+)*@[A-Za-z0-9]+(-[A-Za-z0-9]+)*(.[A-Za-z]{2,6}|[A-Za-z]{2,4}.[A-Za-z]{2,3}) |
| 符合手机校验条数,固定值 | 满足中国手机号基本格式的数据即为命中,格式包含13x、14x、15x、16x、17x、18x、19x,这几个号段; 适用数值型字段类型,如int4、int8 | (13[0-9]|14[01456879]|15[0-35-9]|16[2567]|17[0-8]|18[0-9]|19[0-35-9])\d{8} |
| 符合座机号校验条数,固定值 | 满足中国座机号基本格式的数据即为命中,格式包含以0开头的2-3位区号,有无“-”连字符均可,7-8位的电话号码; 适用字符型字段类型,如char、varchar | (0\d{2,3})-?(\d{7,8}) |
| 符合日期格式校验条数,固定值 | 满足以下日期格式的数据即为命中,格式包含:'yyyy-MM-dd'、'yyyy-MM-dd HH:mm:ss'、'yyyy/MM/dd'、'yyyy/MM/dd HH:mm:ss'、'yyyy.MM.dd'、'yyyy.MM.dd HH:mm:ss'、'yyyyMMdd'、'yyyyMMdd HH:mm:ss' 适用时间型字段类型,如date、timestamp、timestamptz | 以'yyyy-MM-dd'格式为例: sum(case WHEN ' THEN 1 else 0 end) as hitCount |
| 符合IP地址校验条数,固定值 | 满足IPv4格式的数据即为命中,格式包含:三个“.”将整个字符串分为四段,每段由0到255的数字组成; 适用字符型字段类型,如char、varchar | ((25[0-5]|2[0-4]\d|1\d{2}|[1-9]?\d).){3}(25[0-5]|2[0-4]\d|1\d{2}|[1-9]?\d) |
| 符合邮编格式校验条数,固定值 | 满足邮编基本格式的数据即为命中,格式为以数字开头且总长度为6位的字符串; 适用数值型字段类型,如int4、int8 | [0-9]\d{5} |
| 符合字段长度范围条数,固定值 | 字段值在所配置“开始值(含)、结束值(含)”长度区间内的数据即为命中; 不支持字段类型:text、json、xml、bytea、geometry | sum(case when length({column}) >= #{start} and length({column}) <= #{end} then 1 else 0 end) as hitCount |
| 符合不含空白字符校验条数,固定值 | 字段值中不包含空白字符即为命中,空白字符包含普通空白字符(英文空格、制表符、换行符等)、全角空格(\u3000)、不间断空格(\u00A0) | sum(case when ${column} ~'\s|\u3000' then 0 else 1 end) as hitCount |
- 规则参数
规则参数用于质量规则中的“分区表达式”获取动态参数,该参数通常可以设置业务时间,运行时间,字段变量等参数,通过填写固定值、表达式来支持该参数。
在作业参数配置界面填写参数名、参数值或表达式后,点击页面下方的“保存”按钮即可。
- 参数可以设置固定值或动态取值的表达式,不同类型参数表达式格式要求不同。
时间表达式说明
以当前时间为2019年09月01日,任务每天01:30:00定时运行,时间作业参数的赋值情况,具体如下表:
说明:假设代码引用方式均为 pt=${datetime}
| 时间概念(参数名) | 值引用格式 | 参数值 | 参数赋值 | 参数替换结果 |
|---|---|---|---|---|
| 计划执行时间(planTime):根据调度配置计算的任务实例计划执行时间 | 中括号[]引用计划执行时间 | datetime=#{planTime} | ||
| 业务时间(bizdate):计划执行时间的前一天 | 中括号{}引用计划执行时间 | datetime=#{bizdate} |
- 时间概念中的名称即为“规则参数”中的“参数名”,可用户自定义,不要求严格为:planTime、bizdate,也可为如示例中的datetime;
- 两种时间概念主要通过参数值的配置引用格式区分,使用[]则可获取计划执行时间,使用{}则可获取计划执行时间的前一天,由系统自动-1D,无需在参数值中配置;
- 参数值中的时间格式,除表格示例外,也支持:'yyyy-MM-dd'、'yyyy-MM-dd HH:mm:ss';
- 时间的加减:[yyyyMMdd]-1D,该日期减一天,即2019-08-31 00:00:00;{yyyyMMdd}+2D,该日期加2天,即2019-09-02 00:00:00;
- 时间加减所用单位为:m(分钟)、H(小时)、D(天)、M(月)、Y(年);如减一年,则为[yyyyMMdd]-1Y
函数表达式说明
当前仅支持以下两种函数表达式:
- max(schema.tablename.colname),取某张表的某个字段最大值;
- min(schema.tablename.colname),取某张表的某个字段最小值;
注意- 支持字段类型为自增长整数,如int4、int8,使用其他字段类型运行时会报错;
- 表达式中库表字段信息为质检资产信息,通过资产中数据id进行过滤判断;
- “schema”为平台中的“数据库模式”,由“空间编码_数仓层级”组成,可在表详情中查看该信息,或在SQL加工-字段检索中快速复制该信息;
- “tablename”为平台内部的质检资产英文名
- 以上两种表达式支持在“分区表达式”处引用。
配置举例说明:
- 在规则参数页面添加参数:参数名,idmax;参数值,max(helpcenter_stg.student_table.id)
- 在质检规则的“分区表达式”处引用参数:id>#{idmax}
- 配置效果:质检时仅将满足表达式的数据作为命中行。
质量评分配置
修改
进入数据质检 > 质检作业界面,选中目标数据质检作业,点击操作栏“修改”按钮即可修改。
- 质检作业未上线方可修改;
- 当已开启资源权限管控,无权限作业依然显示,但无法查看和操作;仅有“可查看”权限作业仅可查看作业信息;拥有“可操作”权限作业方可进行相关修改操作;
- 若需变更“质检资产”,请先将下方质检规则全部删除后方可修改。
删除
进入数据质检 > 质检作业界面,选中目标数据质检作业,点击操作栏“删除”按钮,二次确认后即可删除。
- 质检作业未上线方可删除;
- 当已开启资源权限管控,即使拥有作业删除的系统权限,若未授权对应作业的“可操作”资源权限依然无法删除该作业;
- 删除作业后不会同步删除基于该作业生成的质量报告。
调度配置
使用场景:用户通过周期性调度实现持续的数据质检。
使用角色:数据开发人员。
功能描述:平台支持时钟触发的方式,为数据质检作业提供统一调度。支持分钟、小时、日、周、月不同粒度的调度频率,实现周期性调度管理。
进入数据质检 > 质检作业界面,选中目标数据质检作业,点击操作栏“调度配置”按钮,在弹窗中填写页面信息后“保存”即可。
时钟触发
- 生效日期:在该日期区间调度配置正常运行,否则自动下线该流程;
- 永久生效:勾选后作业永久生效,生效日期置灰无需填写,取消勾选后则生效日期必填;
- 配置方式:默认,仅可界面化选择统一的调度周期进行配置;cron表达式,灵活自定义cron表达式,可支持不同调度周期混合配置
- 调度周期:可选分钟、小时、日、周、月,请选择合适的周期进行配置;
- cron表达式:直接输入多个表达式,回车分隔,最多支持10个不重复的表达式,不支持秒级表达式
- 具体时间:在生效日期范围内,作业调度具体开始时间,精确到小时、分钟,部分周期支持配置时间间隔;
- 超时时间:当调度任务运行起来后,在该超时时间范围内必须运行完成,否则则认定为超时并强制结束该任务;
- 未来5次执行时间:时钟触发配置完成后,自动生成未来5次的调度时间,用以预览配置是否符合期望。
- 调度周期为日、周、月时,可选择多个具体时间,最多支持设置10个不重复的具体时间,即可存在10个cron表达式,注意“1日、2日、3日10:00”为1个cron表达式;
- cron表达式仅支持填写5位,即具体是“分钟、小时、天、月、星期”,请勿填写“秒”,且表达式不支持填写“w、#”写法
- cron表达式配置多个时请注意是否会有时间重叠,否则可能出现同一个时间点重复调度多次。
常规写法示例如下:
| Cron表达式 | 执行频率说明 |
|---|---|
0/5 * * * ? | 每5分钟执行一次 |
0 12 * * ? | 每天中午12点执行 |
0 12 ? * WED | 每周三中午12点执行 |
0 0 1 * ? | 每月1号凌晨0点执行 |
0 0 1 1 ? | 每年1月1号凌晨0点执行 |
0 12 1 * ? | 每月1号中午12点执行 |
0/30 9-17 * * MON-FRI | 工作日(周一至五)9:00-17:00每半小时执行 |
0 10,14,16 * * ? | 每天10点、14点、16点执行 |
0 12 ? * 6L | 每月最后一个星期六中午12点执行 |
0 12 * * ? | 每天中午12点执行 |
* * * 5-6 * | 5月-6月每小时执行一次 |
0 12 L * ? | 每月最后一天12点执行 |
运行策略
- 作业运行人:必填,默认当前创建人,新建时不可修改,后续只可由空间管理员修改;作业运行时会以作业运行人的数据库账号进行校验并执行作业任务,若存在作业运行人无权限数据表,则作业运行失败
- 作业优先级:必填,默认为高,当多个任务在等待队列排队时,队列槽位释放后,级别高的任务会优先进入运行队列执行;即首先按优先级调度任务,同一优先级按时间顺序调度任务;调整优先级不影响当前排队任务,下一调度生效
- 运行队列:必填,提供默认队列作为默认值,可选择已配置队列,无权限队列则过滤不显示;当多个作业并发运行时,超过队列槽位数的作业任务会排队等待;立即运行,未配置队列时使用默认队列执行任务
- 队列最大等待时长:非必填,仅可填写整数,超过等待时长的任务自动取消排队,不再执行,可清空不填则为永久等待直至进入运行队列;未设置则一直排队,不会自动取消(说明:立即运行默认最大等待时长60分钟;补数据未配置时默认最大等待时长为永久)
- 调度冲突策略:自身作业多个调度任务实例堆积时的处理策略;默认为等待,即后续任务实例排队等待前面任务实例运行完成方才运行;忽略,则后续任务实例自动忽略取消运行,直至不再堆积后新的任务实例才会按计划运行
- 失败重试次数:作业级失败重试,默认为0,即不重试,最大可配置重试5次。
立即运行
完成质检规则配置好后,点击 “立即运行” 即可对数据质检进行真实运行,运行结束后界面最下方会反馈执行信息与执行结果,并在运维监控 > 调度管理同步生成作业任务实例以查看运行详情。
- 可先设置少量抽样快速运行以验证配置正确性;
- 立即运行的结果,即便作业不上线的情况下也会参与质量统计,在质量概览和质量详情中可以查看。
上下线
平台可通过在质检作业界面可手动调整作业状态,需要完成作业新建以及调度周期配置后作业方可上线,上线后作业按调度周期运行。作业下线后用户可重新对当前作业重新进行修改、调度周期配置等操作,下线后作业需重新上线方可运行。
- 当存在运行中的任务,点击“下线”会提示用户是否终止正在运行中的任务,可按需选择;
- 数据质检作业可在运维监控 > 调度管理查看调度详情。
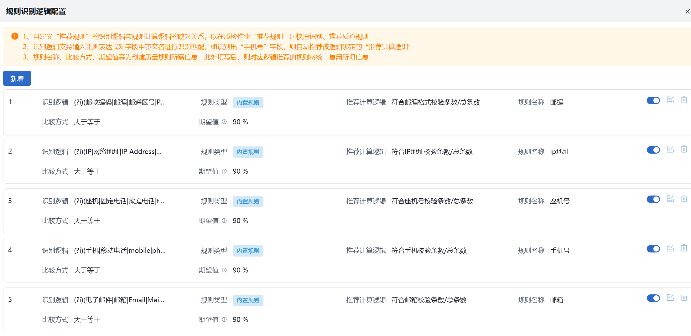
配置规则识别
1、自定义“推荐规则”的识别逻辑与规则计算逻辑的映射关系,以在质检作业“推荐规则”时快速识别、推荐质检规则
2、识别逻辑支持输入正则表达式对字段中英文名进行识别匹配,如识别出“手机号”字段,则自动推荐该逻辑绑定的“推荐计算逻辑”
3、规则名称、比较方式、期望值等为创建质量规则所需信息,此处填写后,则对应逻辑推荐的规则将统一复用所填信息
新建规则识别逻辑入口如下:
系统内置部分识别逻辑,同时也支持用户自定义添加:
配置数据质检作业时,可引用识别逻辑: